荣格工业资源APP
了解工业圈,从荣格工业资源APP开始。
Elektrobit (EB) 开发的嵌入式软件运行于全球 1 亿多辆汽车中的 10 亿多台设备上。
软件中有相当一部分采用标准的 V 模型和 ASPICE 过程进行开发和验证。
虽然这些设备运行良好,但应用软件开发却因手动编码和其他劳动密集型手动任务而放缓。
我们的团队大胆尝试,展示了以基于模型的设计加速端到端 AUTOSAR Adaptive 软件系统开发的可能性。
我们选择的项目是原型驾驶员监控系统。
如果驾驶员的眼睛闭上而没有立即重新睁开,该系统会发出警报,指示驾驶员昏昏欲睡(图 1)。
为了展示基于模型的设计如何促进嵌入式软件的高效开发,我们给自己设定了激进的截止日期,计划在短短三个月内完成整个系统的设计、实现、测试和验证。如果使用传统方法,同样的项目需要至少一年的时间。

图 1.驾驶员监控系统仿真,显示在视频流中检测到的面部和眼睛。
需求定义和设计分块
项目的第一步是定义需求。
高级需求包括检测闭眼(哪怕驾驶员戴着眼镜),将误报率控制在 3% 以下,以及通过 Adaptive AUTOSAR 向 EB 人机界面 (HMI) 发送警报。
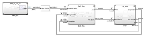
在这一早期阶段,我们与 MathWorks 工程师一起开发系统架构,并将我们的需求映射到架构中的功能模块(图 2)。
在顶层,我们的设计有两个主模块。第一个主模块是计算机视觉组件,它处理来自摄像头的输入,并基于视频流生成信号,例如“检测到面部”、“检测到眼睛”和“闭眼”。
第二个主模块是 AUTOSAR Adaptive 功能模块,它筛选这些信号并确定是否触发警报。该模块包括与 EB corbos AdaptiveCore 软件框架的接口,用于将该模块与 HMI 进行集成。

图 2.驾驶员监控系统的顶层 Simulink 模型。
设计建模和验证
我们将设计分成若干组件,并且清晰地定义接口(图 3),从而独立地处理每个组件。
我们在 Simulink® 中对计算机视觉组件进行建模,使用预训练的深度学习网络和 Computer Vision Toolbox™ 来检测面部和眼睛。
为了验证此模型,我们执行了仿真,用模型处理预先录制的驾驶员面部视频。这些视频是在不同角度和不同环境光条件下录制的,其中包括戴眼镜和不戴眼镜的驾驶员,以确保该系统能够在各种操作场景下检测到闭眼。

图 3.计算机视觉组件(上)和筛选组件(下)的 Simulink 模型。
筛选组件将计算机视觉组件的输出作为输入。它跟踪“检测到眼睛”和“闭眼”信号的值,排除短暂的眨眼,当这些信号指示驾驶员闭眼时间太长时,组件与 EB AdaptiveCore 软件框架进行 AUTOSAR Adaptive 通信来启动警报。
我们从顶层 Simulink 模型生成一个单元测试模型,以便根据 ISO 26262 执行系统验证和设计评估。
代码生成和硬件部署
通过仿真验证设计后,我们在原型硬件装置上部署并测试设计。
该装置包括两块 Raspberry Pi™ 3 B+ 板,一块用于 DMS 系统,另一块用于测试装置,包括 HMI、驾驶员输入和环境。两块板通过以太网连接(图 4)。

图 4.硬件测试装置。
我们为计算机视觉组件和筛选组件生成符合 MISRA® 的 C/C++ 代码。在编译计算机视觉组件代码后,我们将其直接部署到第一块 Raspberry Pi 板上。
对于筛选组件,我们将生成的代码(包括 ARXML 文件)导入 EB corbos Studio 中。
我们在 corbos Studio 中编译该组件,并将其作为 AUTOSAR 软件组件部署到同一块 Raspberry Pi 上。计算机视觉和筛选组件通过进程间通信 (IPC) 接口连接。
第二块 Raspberry Pi 板用于运行 EB corbos AdaptiveCore 软件基础和 EB GUIDE HMI,以表示车辆组合仪表盘。
我们在两块板上运行代码,同时用实时摄像头视频流对系统进行测试,验证当视频中的人闭上眼睛时,HMI 能正确地发出“闭眼”警报。
从概念验证到现实应用
由于驾驶员管理系统是概念验证原型,因此在开发过程中不必严格遵循 ISO 规范。不过,在准备开展要求 ISO 合规的项目时,我们会使用模型顾问来检查模型的需求覆盖率以及 ISO 26262、ISO 61508 和 MISRA C:2012 标准的合规性。
我们在 EB 内部展示了以基于模型的设计加速 Adaptive AUTOSAR 软件开发的可能性。
现在,我们正努力扩展其应用,向汽车一级供应商和原始设备制造商 (OEM) 展示这一可能。
我们的团队计划将安全功能和处理器在环测试纳入工作流,同时,我们致力于帮助 EB 其他分部的同事了解和应用基于模型的设计。