供需大厅

登录/注册

公众号

更多资讯,关注微信公众号

小秘书

更多资讯,关注荣格小秘书

邮箱

您可以联系我们 info@ringiertrade.com

电话

您可以拨打热线

+86-21 6289-5533 x 269

建议或意见

+86-20 2885 5256

顶部

荣格工业资源APP

了解工业圈,从荣格工业资源APP开始。

打开
荣格工业-圣德科

耐高温 强承载 脚轮新品 性能如一

来源:荣格 发布时间:2018-06-07 430
智能制造 技术前沿
镀锌钢板或AISI 304不锈钢板(SST款),该支架的设计承载载荷达2000N。用于操作双向液体流动的指示器双重滚珠座圈的回转以及底板与滚珠座圈通过内置销直接接触确保了优良的操纵灵敏度。用于操作双向液体流动的指示器免维护。
产品1:RE.F7-N-HT热固性塑料滚轮(钢板或不锈钢板支架,耐高温)
 
 
轮芯
 
酚醛基(PF)热固性塑料整体式滚轮,耐受温度达 300°C。
 
滚动作用
 
带钢制或不锈钢管(SST型)的轮毂,及PTFE毂。
 
定向支架
 
镀锌钢板或AISI 304不锈钢板(SST款),该支架的设计承载载荷达2000N。
 
万向支架
 
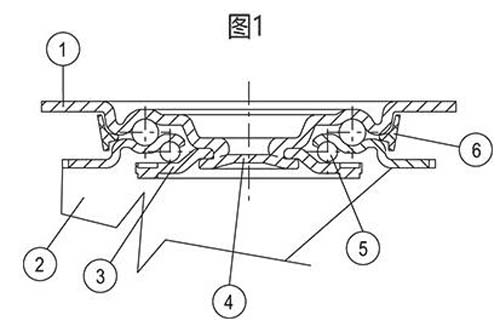
镀锌钢板或AISI 304不锈钢板(SST款),该支架的设计承载载荷达2000N。用于操作双向液体流动的指示器双重滚珠座圈的回转以及底板与滚珠座圈通过内置销直接接触确保了优良的操纵灵敏度。用于操作双向液体流动的指示器免维护。用于操作双向液体流动的指示器由下列部分组成(参见图1):
 
 
1. 垫板:电解镀锌钢板或AISI304不锈钢板;
 
2. 轮叉:电解镀锌钢板或AISI304不锈钢板;
 
3. 滚珠座圈:电解镀锌钢板或AISI304不锈钢板;
 
4. 中心销:与底板一体成型,冷压折边而成。
 
5. 旋转系统:带滚珠双润滑脂滚道;
 
6. 防尘圈:RAL7015深灰色高科技聚合体。
 
标准型号
 
• SBL:用于操作双向液体流动的指示器带万向支架,无刹车。
 
• FBL: 配备万向支架及装配通孔的无刹车脚轮。
 
支架材料索引
 
• N:镀锌钢板支架
 
• N-SST: AISI 304 不锈钢支架
 
 
产品2:RE.F2软性聚胺酯滚轮铝制轮芯
 
 
RE.F2 滚轮也可配支架供货:
 
RE.F2-N: 带钢板支架的滚轮用于轻载场合。
 
 
RE.F2-H: 适用于中等程度负载的带有钢板支架的滚轮。
 
 
RE.F2-WH: 带有电焊钢制支架的脚轮,适用于较大的负重。
 
 
请联络您的当地销售工程师了解更多:
 
上海 15121199387
 
江苏 13818825260
 
浙江 17721299696
 
京津冀 18121116657
 
山东 18116355753
 
华南 13761416102
 
辽吉黑 13761438840
 
其他 18101977172
 
www.elesa-ganter.com.cn
 
sales@elesa-ganter.com.cn
 
推荐新闻